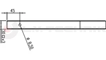
Aláfutásgátló tartó
Cikkszám
3062
Ár
Jelentkezz be vagy regisztrálj és már mutatjuk is




Oldalsó aláfutásgátló tartó 3,5t-ás teherjárművekhez.
Anyag
festett acél
Súly
1,2 kg
Készlet
Lajosmizse
Rendelhető
Szigetszentmiklós
raktáron
Keresztreferencia
Takler
TK3062
